Зміст
Відкатні ворота дуже надійні і зручні. У них є ще одна назва – зсувні ворота. Їх встановлюють на дачах, промислових об’єктах, у приватних домоволодіннях.
Відкатні ворота
Маючи матеріали, комплектуючі та інструкцію по установці, можна зробити конструкцію своїми руками, тим самим заощадити гроші. Вони дуже надійні, зручні в експлуатації, не займають багато місця і не вимагають особливого догляду.
Без особливих труднощів можна встановити автоматику. В нинішній час багато людей вибирають цей тип воріт, так як він має багато плюсів.
Переваги і недоліки зсувних воріт
Переваги:
Недоліки:
Комплектуючі і властивості відкатних воріт
Комплектуючі зсувних воріт:
- Каретки (роликові візки).
- Нижній і верхній уловлювач.
- Ролики (підтримуючий, накатної).
- Направляюча рейка 6 метрів.
- Заглушки направляючої.
Електричний привод служить для комфорту та допомагає заощадити час людям, які часто користуються воротами. Каретки прикріплюються до фундаменту і визначають шлях направляючої. Всі роликові візки включають в себе коліщатка, покриті полімером або металом.
Слід вибирати комплектуючі з якісних матеріалів для того, щоб конструкція функціонувала довговічно. Повний цикл «відкрити-закрити» становить 50 тис. раз, за умови якісних комплектуючих. Якщо правильно використовувати та дбайливо ставитися до воріт, вони прослужать багато років.
Обшити ворота можна будь-яким матеріалом: профлист, метал, дерево, полікарбонат, ковка. Можна вбудувати хвіртку в ворота або зробити її окремо.
Отже, маючи всі комплектуючі, можна зробити ворота своїми руками, які прослужать надійно і довго.
Кладка цегляного стовпа
Етапи по установці воріт
Для того щоб поставити ворота своїми руками дотримуйтесь рекомендацій.
Встановлюємо опорні стовпи
Спочатку потрібно правильно встановити опорні стовпи. До них, в свою чергу, прикріпимо відкатні ворота. Можна вибрати в якості опорного стовпа дубову балку, бетонний або цегляний стовп, швелер.
Краще бетонувати стовп на глибину від 1 метра. Саме на цю глибину мерзне земля і навесні або взимку стовпи не можуть нахилитися і порушити функціональність конструкції. Встановлюємо стовпи під рівнем, потім заливаємо їх бетоном.
Бетон складається з дрібного щебеню, піску, цементу. Не менше 1 тижня бетон застигає. Обов’язково передбачте залізні заставні по 3 одиниці на кожному опорному стовпі, якщо вони будуть з бетону або цегли. Залізні заставні розташуйте на відстані від краю по 10 сантиметрів з боку отвору. Краще якщо розмір застави буде 5х5 сантиметрів.
При виготовленні стовпів, зробіть по 3 заставні для того, щоб прикріпити нащільники на кожному з стовпів. Це допоможе вам зручно прикріпити до них верхні ролики, а також верхній і нижній уловлювач.
Приварюємо арматуру до забетонованої по центру труби. З іншого боку арматуру приварюють до куточка 50х50 довжиною 8 сантиметрів. Куточок однією стороною, яка приварена до арматури, лежить в шві.
До другої сторони приварюється нащельник. Цей куточок закладається в шві до отвору. Внаслідок цього, нащільник буде на відстані від 8 до 10 сантиметрів від краю стовпа.
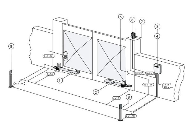
Якщо плануєте встановити автоматику, закладіть дроту для антени, фотоелементів, приводу, і сигнальної лампи.
Схема електропроводки для відкатних воріт:
Схема електропроводки для відкатних воріт
Фундамент для воріт
Для того щоб зробити фундамент, візьміть швелер, ширина якого становить 20 см. і арматуру перетином від 12 до 16 мм. Арматуру поріжте довжиною 1-1,2 метра і приварите її з двох сторін до швелеру (до його полкам).
Потім потрібно викопати рів, довжина якого буде становити половину від ширини прорізу. Ширина ями становить 30-40 см. Глибина становить 1,3-1,5 метр. Швелер встановіть «ніжками» вниз і залийте яму бетоном. Фундамент для ваших воріт готовий. Приміром, якщо між стовпами довжина складає 4 метри, що то підстава для зсувних воріт складе 2 метри.
Необхідно пам’ятати, що швелер потрібно виставляти обов’язково за рівнем. Верх його обов’язково повинен співпадати з рівнем заїзду. Якщо ж ви будете укладати плитку або асфальт, то необхідно розрахувати наскільки буде збільшено рівень проїжджої частини. На цьому рівні і бетонируйте швелер.
Якщо враховані всі рекомендації, то вийде рівна залізна майданчик, до якої приварені ролики для воріт.
Фундамент повинен вистоюватися не менше 14 днів.
Виготовлення несучої рами
Матеріалом рами є профільна труба.
Для внутрішнього каркаса потрібна труба 20х30 або 40х20, а для зовнішнього-60х40 або 50х50.
Насамперед підготуйте метал для рами. За допомогою болгарки з залізною щіткою очистіть його від корозії і обезжирьте, використовуючи розчинник і ганчірку.
Потім покрийте антикорозійним грунтом метал рами, використовуючи щітки або пульверизатор. Зваріть раму.
Виготовлення рами внутрішнього каркаса
Каркас необхідно зварити знизу вгору. В першу чергу до напрямного рейку необхідно приварити знизу 2 труби 60х40 по 60 сантиметрів. Роблять це для того, щоб конструкція була стійкою при зварюванні каркаса.
Потім зверху направляючої потрібно приварити трубу каркаса 60х40. Необхідно врахувати те, що зварювати труби і спрямовуючу потрібно в шаховому порядку.
Приварите труби зовнішнього каркасу: спочатку першу і другу вертикальну, потім косу і верхню. Приварите труби внутрішнього каркаса і зачистіть шви після зварювання за допомогою болгарки.
Фарбування та зашивання воріт
Труби вже погрунтованы, тепер можна приступати до фарбування. Якщо ж ви не погрунтовали перед зварюванням труби, то можна каркас, який ви зварили погрунотовать, перед фарбуванням. Отже, фарбувати потрібно алкидной емаллю. Це найпопулярніша фарба.
Також використовують фарбу фірми Хамрайт або Снєжка, якими можна фарбувати без грунтовки, але перед фарбуванням бажано все-таки погрунтовать труби.
Фарбувати потрібно так: спочатку нанесіть шар фарби, потім висушіть, потім знову нанесіть шар фарби.
Рама воріт висушена, приступаємо до її зашивці. Для зашиття можна використовувати такі матеріали: профлист, дерево, метал. Також знадобляться саморізи і заклепки. Бажано, щоб саморіз зі свердлом. З інструментів знадобиться шуроповерт або дриль із спеціальною насадкою.
Зварювання металевих воріт
Монтаж воріт
Фундамент підсох, можна приступати до установки воріт. Процес установки дуже копітка. На фундаменті (швелері) виставте каретки і максимально розведіть їх.
Потрібно враховувати, що кінцевий ролик приблизно 150 мм і тому каретку, яка знаходиться ближче до отвору, потрібно відсунути, враховуючи цю довжину. Каретка, що знаходиться далі від прорізу, повинна бути виставлена так, щоб не змогла вибити заглушку з іншого боку направляючого рейки, коли ворота будуть закриватися.
Потім надіньте раму воріт на каретки і виставите полотно по рівню. Далі приварите платформи кареток до швелеру.
Перевірте, чи все зроблено правильно. Потім зваріть повністю платформи роликових візків. Важливо, щоб було правильне положення воріт, не було перекосів. Далі приварите верхній підтримуючий ролик.
Потім вставте кінцевий ролик, приварите нижній уловлювач, потім верхній. Врахуйте те, що кінцевий ролик повинен накочуватися на нижній уловлювач так, щоб кожен раз при закриванні конструкції розвантажувати її.
Якщо ви зробили опорні стовпи з металу або швелера, то вловлювачі і підтримуючі ролики приварите безпосередньо до стовпа. Якщо у вас бетонні або цегляні, то приварите їх до труби, прикріпленою до закладних на стовпі.
Є один маленький момент. Багато людей, встановлюючи ворота своїми руками, думають, що краще поставити роликові каретки на платформи, до яких приварені шпильки. Або відразу приварюють шпильки до фундаменту, а до них прикручують каретки. Але цей процес займе багато часу.
Не потрібно приварювати каретки у важкодоступному місці. Якщо не хочете використовувати ролики на шпильках, можна взяти готові платформи з болтами. Платформи приварюють до фундаменту, а ролики кріплять до готової майданчику, використовуючи гайки. Цей метод дорожче, але заощадить ваш час.
Поставити ворота своїми руками дешевше, ніж викликати майстрів з фірми, але потрібно мати всі матеріали і комплектуючі для воріт.
Ці рекомендації допоможуть вам легко і недорого поставити відкатні ворота своїми руками. Встановити ворота саме своїми руками завжди цікаво і захоплююче. Якщо слідувати всім порадам, зсувні ворота вийдуть надійними і будуть працювати довгі роки.
.


