Технологія складання різних споруд з сендвіч-панелей, звичайно, має свої нюанси залежно від того, що саме збирається (гараж, ангар, заводський цех або житловий будинок), але, в цілому, порядок і принцип проведення робіт приблизно однаковий. У цій статті будуть розглянуті основні етапи складання таких будівель, а також деякі їх особливості.
Підготовка підстави
Зміст статті
- 1 Підготовка підстави
- 2 Підйом панелей
- 3 Монтажна різання і сверловка
- 4 Установка стінових сендвіч-панелей
- 5 Горизонтальний варіант монтажу
- 6 Вертикальний варіант монтажу
- 7 Монтаж покрівельних панелей
- 8 Кріплення сендвіч панелей
- 9 Розрахунок кількості кріпильного матеріалу
- 10 Обробка сендвіч панелей
- 11 Особливості монтажу та догляду за поверхнею
- 12 Креслення кріплення сендвіч-панелей
- 13 Відео
Металевий каркас
Існують панелі, які не вимагають монтажу каркаса, тобто є самонесучими елементами. Для їх установки буде достатньо пристрою фундаменту. У тих же випадках, коли сендвіч-панелі не є самонесучими, потрібно підготовка підстави. Як правило, такою підставою виступає металевий каркас. В ході його складання потрібно враховувати ряд нюансів:
- Фундамент повинен бути вирівняний по горизонталі, максимальне відхилення не повинно перевищувати 3 мм;
- Відстань між вертикальними й горизонтальними профілями має відповідати розмірам панелей з запасом по 5 см з кожної зі сторін для можливості безперешкодної стикування елементів і встановлення декоративних екранів;
- При використанні дерев’яних направляючих перед установкою їх слід обробити антисептичними та протипожежними засобами, щоб уникнути подальших неприємностей.
Можна, звичайно, виготовити панелии самостійно, але краще купити готові, так як панелі з заводу мають високу якість і утеплителяи клею.
Підйом панелей
Транспортування панелей
Доставка на об’єкт здійснюється вантажними автомашинами в так званому ” транспортному пакеті, підйом якого на висоту проведення монтажних робіт здійснюється за допомогою спеціального обладнання — вакуумного підйомника (крана з присосками). При відсутності такої можливості у цих цілях можна використовувати традиційний підйомний кран або ж лебідку з текстильними канатами.
У такому випадку потрібно вжити низку заходів щодо запобігання пошкоджень сендвіч-панелей:
- Слід використовувати тільки м’які стропи;
- Захоплення пакету безпосередньо самими стропами неприпустимий, треба застосовувати спеціальні м’які прокладки;
- Для захисту елементів замків панелей від пошкоджень стропами потрібно використовувати дерев’яні бруски-розпірки довжиною не менше 120 см, які повинні рівномірно розташовуватися у верхній і нижній частині транспортного пакета;
- Здійснювати підйом панелей безпосередньо з палет теж забороняється, необхідно їх зняти звідти і перетягнути на рівну поверхню.
Монтажна різання і сверловка
Нарізку сендвіч-панелей потрібно робити строго в горизонтальному напрямку, причому перевірка горизонтальності ліній надрізу здійснюється будівельним рівнем (лазерним або водяним, але не бульбашковим) з обох сторін.
Перед різкою потрібно впевнитися в правильності прочерченных ліній, так як приказка про сім раз дуже доречна в даному випадку. Метал потрібно різати в першу чергу, утеплювач — у другу.
В якості інструменту потрібно використовувати стрічкову або дискову пилу зі спеціальними насадками для різання металу або ж електричним лобзиком.
Перші два варіанти краще, так як при різанні лобзиком досить важко тримати прямий напрямок. Кутову шліфмашинку (болгарку) краще не застосовувати, оскільки навіть на самому малопотужному пристрої число оборотів така, що в місці розрізу утворюється середовище з високою температурою, а це може викликати займання ізоляції.
До того ж в місці дії болгарки метал втрачає стійкість до появи корозії. Для свердління отворів під елементи кріплення потрібно користуватися звичайним дрилем, в процесі роботи не забуваючи прибирати стружку з поверхні елементів. Панелі, покриті оболонкою з деревини або полівінілхлориду, нарізаються все тим же лобзиком або звичайною ручною пилкою з зубцями середніх розмірів.
Установка стінових сендвіч-панелей
У процесі складання стін з сендвіч-панелей першочерговим завданням виступає уникнення перекосів і неточності в місцях стиків. У разі необхідності панелі можна підрізати безпосередньо за місцем з використанням шабельних пив (таким чином, наприклад, організовуються дверні та віконні прорізи). По завершенні складання стін всі стики не тільки необхідно заповнити монтажною піною, але і закрити добірними декоративними елементами, які одночасно виконують і захисну функцію, обороняючи ці досить вразливі місця від проникнення атмосферної вологи.
Кріплення панелей до підконструкції
Як показує практика, монтажні бригади з кількох робітників, що мають легкі пересувні крани за досить невеликий відрізок часу можуть здійснювати збірку великих стінових площ. Однак при наймі таких бригад слід пам’ятати, що монтажники сендвіч-панелей повинні мати у своєму розпорядженні не тільки спеціальне устаткування, але і значний досвід.
Горизонтальний варіант монтажу
Кріплення сендвіч панелі до сталевого стовпа, проміжна опора
1. Сталевий стовп згідно з технічним проектом;
2. Багатошарова панель (60,80, 100);
3. Стикова планка;
4. З’єднувач для гарячекатаного ригеля або для холодного згинання ригеля;
5. З’єднувач (з кроком ~ 500 мм).
Горизонтальний метод складання сендвіч-панелей використовується в тих випадках, коли проміжок між каркасними колонами споруди не перевищує 6 метрів. У процесі складання стіни панелі розміщуються один на одного, при цьому проводиться кріплення одного з кінців до колони.
Перевагою цього способу в тому, що герметичність стиків забезпечується вагою самих елементів, а зовні і всередині утворюється суцільний шар обшивки, який не потребує додаткової обробки, і може бути, наприклад, відразу пофарбований фінішним шаром фасадної фарби або обклеєний шпалерами зсередини.
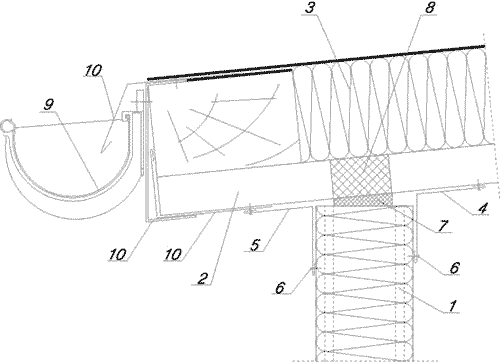
Вертикальний варіант монтажу
Стик стінової панелі з дахом з профлиста
1. Багатошарова панель стінова (60,80,100);
2. Трапецієподібний профіль згідно архітектурним проектом;
3. Покрівельне покриття згідно архітектурним проектом;
4. Планка;
5. Планка;
6. Одностороння заклепка алюміній — сталь (з кроком ~ 300 мм);
7. Водонепроникна поліуретанова прокладка або
монтажна піна;
8. Фасонна прокладка для трапецієподібного профілю;
9. Водостічна система згідно з галузевою проекту;
10. Індивідуальні елементи.
Стик панелей у вертикальному розміщенні панелей
1. Сталевий ригель согл. техн. проектом;
2. Багатошарова панель (60,80,100);
3. З’єднувач для гарячекатаного ригеля або для холодного згинання ригеля.
Кутове з’єднання сендвіч панелей
1. Сталевий ригель согл. техн. проектом
2. Багатошарова панель (60,80,100)
3. З’єднувач t01 для гарячекатаного ригеля або t02 для холодного згинання ригеля
4. Зовнішня кутова планка ВООЗ або В04
5. Внутрішня кутова планка В05
6. Одностороння заклепка Al/Fe (з кроком ~ 300 мм)
7. Водонепроникна поліуретанова прокладка або
монтажна піна
З’єднання пластикового вікна з панеллю. Вертикальний розріз
1. Багатошарова панель (60,80, 100);
2. Пластикове вікно виробництва -System Sp. z o.o.;
3. Відлив;
4. Щільна заклепка (з кроком ~300 мм);
5. Водонепроникна поліуретанова прокладка або монтажна піна;
6. Ущільнююча маса.
У тому випадку, коли споруджується невисокою (від 3 до 6 м), то доцільно використання вертикального способу монтажу сендвіч-панелей, які кріпляться до напрямних стельових і статевим профілів, жорстко скріплюється при цьому між собою.
Перевагою даного способу з’єднання в тому, що отримана конструкція не тільки володіє хорошою міцністю і стійкістю, але і в тому, що в ній відсутні так звані містки холоду і вона не потребує додаткового утеплення, що в кінцевому рахунку веде до економії коштів. Також вертикальний спосіб монтажу не потребує спорудженні будівельних лісів.
Монтаж покрівельних панелей
Пристрій покрівлі йде слідом за збиранням стінових сендвіч-панелей, що цілком логічно. Якщо довжина ската становить менше 12 метрів, краще використовувати в роботі цілісні листи, що допоможе зменшити обсяг робіт. Зокрема, відпаде необхідність герметизації горизонтальних швів.
У тому випадку, коли покрівельні панелі будуть встановлюватися в декілька рядів, то місце їх стику потрібно обрізати. Як правило, відріз нижньої обшивки і шару наповнювача панелі, яка встановлюється зверху, проводиться на розмір нахлеста. Сам напуск повинен становити:
- 30 см і більш, якщо кут нахилу ската покрівлі знаходиться в межах 10°;
- 20 см, якщо покрівля є більш похилим.
Потрібно пам’ятати, що найважливіше при складанні покрівельних панелей — це забезпечення герметичності в стиках, що йдуть в поздовжньому напрямку.
Щоб домогтися її, пази сполучних замків прямо перед монтажем панелей заповнюються герметиком на силіконовій основі, а після складання кріпильні вузли панелей обробляються спеціальними вологостійкими захисними сумішами.
З’єднання покрівельних панелей з високим гофром
Нахлест покрівельних панелей. Початок монтажу
Нахлест покрівельних панелей. Закінчення монтажу
Кріплення сендвіч панелей
Посадка шурупів
Трохи вище в статті вже була згадка про деяких різновидах каркасів для споруд з сендвіч-панелей, що розрізняються за матеріалом виготовлення. Тому й кріплення для кожного з них буде свій. Від правильності підбору кріпильного матеріалу буде залежати не тільки несуча здатність каркаса і термін його служби, але і зовнішній вигляд.
Існує кілька правил, якими слід керуватися при кріпленні панелей:
- Місце встановлення кріплення не повинні знаходитись дуже близько до краю елемента, мінімальна відстань — 50 мм;
- Кріплення повинен встановлюватися строго під прямим кутом до лицьової поверхні закріплюється сендвіч-панелі, це прямим чином впливає на надійність з’єднання;
- При використанні самонарізних гвинтів, які мають ущільнювальну шайбу з каучуку, їх закручування потрібно робити до повного зіткнення з робочою поверхнею, але одночасно з цим треба уникати сильної деформації шайби, що з часом призведе до втрати герметичності з’єднання.
Розрахунок кількості кріпильного матеріалу
Рекомендовані схеми розташування шурупів
Рекомендовані схеми розташування шурупів
Розрахунок кількості кріпильного матеріалу — питання зовсім не пусте, від її правильності буде залежати не тільки швидкість проведення робіт (не повинно бути простоїв в роботі при нестачі кріплення), але і відсутність перевитрати грошових коштів (зайвий кріплення абсолютно не потрібен).
Тому подібні розрахунки повинен проводити досвідчений проектувальник. Нижче наведені таблиці, за допомогою яких можна порахувати приблизну кількість необхідного кріплення.
Обробка сендвіч панелей
Будь-які дії, пов’язані з обробкою сендвіч-панелей, безпосередньо залежать від матеріалу їх виготовлення, а також матеріалу, з якого зроблені несучі елементи каркаса. Панелі, які під час транспортування забруднилися, не можна мити з використанням миючих засобів, що містять у своєму складі кислотні, абразивні і лужні компоненти.
Рівний зріз для надійного з’єднання можна отримати з використанням циркулярної пили. В місцях дотику панелей з бетонними колонами при горизонтальному способі монтажу потрібно використовувати самоклеящуюся стрічку, яка одночасно виступає і в якості ущільнюючого матеріалу. Після завершення робіт з монтажу стін і крові з панелей їх рекомендується покрити яким-небудь захисним складом, наприклад, звичайною емаллю.
Особливості монтажу та догляду за поверхнею
Підводячи підсумки вищесказаному, необхідно відзначити ряд особливостей монтажу і догляду за цим матеріалом. Так, наприклад, перед тим як приступити до монтажу стін, необхідно забезпечити надійну ізоляцію нижніх сендвіч-панелей від проникнення вологи від фундаменту будівлі.
Першим шаром потрібно укласти бітумний картон (руберойд), а поверх нього — шар мінеральної вати. Ширина такого «листкового пирога» повинна перевищувати ширину стіни з панелей на 10 мм з кожної сторони, причому укладання мінеральної вати потрібно проводити таким чином, щоб вона повністю заповнила пази нижніх панелей.
Захисне покриття на сендвіч-панелях, яке наноситься в процесі їх виробництва, є досить нестійким, тому при монтажі слід виявляти особливу акуратність. Після закінчення будівництва в ході експлуатації будинку необхідно проводити регулярний огляд поверхні панелей, а при виявленні ушкоджень — відновлювати з застосуванням спеціальних ремонтних барвників.
Забруднення ж легко усуваються за допомогою щітки середньої жорсткості, змоченою в мильній воді. Заводську захисну плівку треба знімати відразу по закінченні монтажних робіт, але робити це необхідно тільки в суху і нежарку погоду.
Креслення кріплення сендвіч-панелей
Подивіться реальні креслення кріплення СІП-панелей (сендвіч-панелей).








Відео
Подивіться відео про технології монтажу сендвіч-панелей.


